第 3 章 中子星的形成
从恒星演化、白矮星极限到引力坍缩,理解中子星为何会以太阳质量、城市尺度的方式存在。
1932年,在物理学发现中子后不久,苏联学者朗道就预言在宇宙中可能存在中子星。两年后,巴德和茨维基甚至明确提出超新星爆发可以产生中子星。当人们第一次听到这种小得惊人,密度大得出奇的恒星时,一定会问,真有这样的恒星吗?当初,在物理学家提出宇宙中可能存在中子星时,不少天文学家也都提出疑问。
物理学家的预言,并未受到天文学家的重视。原因之一就是这种中子星太不寻常了。我们熟知的太阳,其体积并不是恒星中最大的,可以装下130万个地球,而不大的地球却可以装下25800万个中子星。这样小的中子星却有和太阳差不多的质量,因而具有高达 克/厘米3 的密度,比当时已知密度最高的白矮星要高出7-8个数量级。真是令人不可思议。中子星真的神秘到不可理解吗?
一,恒星演化概述
像我们人类一样,恒星也有各自的年龄。它们中间有年青的,中年的和老年的星。一颗恒星从诞生到死亡,要经过几百万年甚至几亿年的时间。现代天文学的全部历史对于恒星的一生来说,也只是短暂的一瞬间。但是天文学家根据对各种各样的恒星的观测和理论研究,弄清了恒星的一生是怎样从孕育到诞生,再从成长到成熟,最后衰老到死亡的整个过程。
恒星的一生始终处在向内收缩和向外膨胀的矛盾之中。一个恒星是靠向内的引力和向外的压力维持平衡的。引力使其收缩,压力使其膨胀。某些时候,其中一种力占上风,恒星便呈现为膨胀或收缩。通常,恒星是靠其内部释放核能提供能源而维持温度保持平衡的。一旦核能耗尽,恒星将会因抗衡不住引力而收缩下去, 直到出现一种新的、更强大的向外的力来抗衡引力才能达到新的平衡。
在年青阶段,引力起主要作用,红外星继续收缩,当星体内的温度达到80万度以上的时候,内部开始一些不连贯的热核反应。内部温度达到1000万度左右时,氢核聚变为氦核的反应就持续不断的发生了。这时,就可以说它已经“长大成人”了。恒星到这时,由于核反应产生巨大的辐射能使恒星内部的压力增高到足以和引力相抗衡,恒星不再收缩。恒星内部能量的产生和向外辐射的损耗也达到平衡。这时恒星进入一个相对稳定的时期,成为恒星演化史中的主序星阶段。由于恒星内部含有大量的氢,氢核聚变反应可保持相当长的时间,所以恒星在主序星阶段停留时常很长。质量不同的恒星在主序星阶段的时间很不相同。质量愈大的恒星氢消耗得愈快,在主序星阶段停留的时间就愈短。
过了主序阶段之后,恒星就开始走下坡路了。此时,恒星中心部分的氢已经全部转化为氦,中心部分以外的区域由于温度的增高又开始氢核聚变反应,并且核反应迅速向外层转移,推动外层膨胀,使得恒星体积很快增大上千倍以上。这样,就变成又大又红的红巨星。红巨星中心的温度很高,氦开始发生聚变为碳的核反应。过了红巨星阶段之后,恒星便进入了老年期。老年恒星的重要特点就是不稳定。恒星的老年期比较短,氦聚变为碳,碳聚变为氧和镁,氧聚变为氖和硫,核反应一个接着一个,最后全部变成铁。核反应停止,核能耗尽。这时,恒星内部温度高达60亿度,发生极强的中微子辐射,带走大批能量,恒星内部压力大大降低,远远不能与引力相抗衡。引力主宰一切,恒星就要坍缩,崩溃事在必然。 核能燃烧有尽时,恒星归属何在?研究的结论是,在经过了各种演化历史以后,按照它们的质量的大小变为白矮星、中子星或者黑洞。图(3.1)是恒星演化赫罗图。

图(3.1) 邻近太阳的恒星赫罗图。多数恒星落在由左上方往右下延伸的带内(主序),在右上方的几颗是红巨星,左下方的几颗是白矮星。
二,白矮星及其质量上限
回顾一下白矮星的发现历史和它们被证认为致密星的过程对我们理解中子星是大有帮助的。1862年天文学家发现天狼星旁边有一颗暗星,和天狼星组成一对双星。这两颗星的亮度差10个星等,也就是说,它们的光度相差1万倍。我们已经知道,光度和恒星的表面积成正比。这意味着,天狼星的伴星的表面积比天狼星的表面积小1万倍,半径就要小100倍。因此它的半径和地球差不多,大约是7000公里。这颗星被确认的白矮星。白矮星在赫罗图上远离主序星,光度低但温度高,大小近于行星而质量和太阳差不多的一类恒星,其密度高达 克/厘米3 ,是一类特殊的恒星。白矮星的质量有一个上限,约为 1.44 太阳质量。这个上限质量通常称为钱德拉塞卡极限, 超过这个极限,白矮星就不能稳定存
在。
白矮星是一种与主序星很不相同的恒星。不同之处在于:在主序星内部,和引力抗衡的是气体压力和辐射压力梯度。这两种压力都具有热的性质,主要是靠恒星内部的热核反应释放出来的热能来维持的。白矮星则是热核反应停止以后恒星的一种稳定结构。热核反应一停止,引力便占上风,恒星就要收缩,直到有一种能与引力抗衡的力出现,才能使恒星稳定下来。这个力就是简并电子气的压力,简称简并压力。
我们知道,原子是由原子核和核外的电子组成的。原子的全部正电荷和几乎全部的质量都集中在原子核里。带负电的电子在原子核外绕核旋转。原子很小,其直径的数量级是 米,而原子核更小,只有 米的数量级。
当恒星内部的热核反应停止以后,辐射压大大降低,远远不能与引力相抗衡,必然导致恒星坍缩,温度升高,密度加大,高温使得原子核外的电子全部电离,变成赤裸裸的原子核,一个挨着一个。在原子核的外面则是自由电子的汪洋大海,成为简并的电子气体。坍缩的结果使它的密度提高了 到 倍。自然,恒星的直径大大的减小,变成和行星差不多大小。
什么是简并的电子气?原来,在密度非常高的情况下,电子、质子和中子气体已不能用经典物理理论规律来解释。它们遵从量子力学的规律而被称为简并气体。在经典物理中,粒子和波是完全不同的,每个粒子具有确定的位置和速度。但是,在量子力学中,光是波动又是粒子,这就是波粒二象性。一切粒子,包括电子、质子和中子也有波动性。粒子的位置和速度遵从“测不准关系”,位置的尺度和动量的大小不能单独确定,它们的乘积等于一个常数,也就是物理学上重要的普朗克常数。粒子所占的体积越小,那么它的动量就越大。由于坍缩恒星的密度大大地增加,导致原子核外的电子具有很大的动量。
量子力学还有一个重要的“泡利不相容原理”。这个原理说的是,电子的能量状态是不连续的,只能取某些特定的值。同一个状态,只能允许一个电子占有。从低向高排列,低能态的占满了,就只能到高能态去。所以,当电子密度很高时,必然有很多电子处在高能态,具有非常高的速度,产生非常高的简并电子气压。
理想气体的物态方程为
气压是温度和密度的函数。
简并电子气压在密度不是特别高时,电子的速度比光速要小很多,称之为非相对论简并电子气。简并电子气的状态方程可以作如下的推导:
根据测不准关系,我们有
其中h为普朗克常数。假设在体积V内有N个原子,那么单位体积中的电子数n正比于
,比例常数与气体的化学组成有关。因为不同元素的原子电离后提供的电子数不同。每个电子平均占有的体积和 成正比,所以位置的不确定性正比于 。假定动量的不确定性取与动量差不多,即等于 ,这样便可得
则压力P为
从而导出
简并电子气的压力和温度无关,和密度的5/3次方成正比。当密度增加,简并电子气压比理想气体压增长得快得多。所以在密度很高时,简并压力可以远远超过通常的气体压力。
当密度更高时,按照“泡利不相容原理”一定有非常多的简并电子处于更高的能级上,其速度可以接近光速,成为相对论性电子。相对论简并电子气的状态方程则为
仍和温度无关,但和密度的关系却变为和密度的4/3方成正比。稳定的白矮星要求简并电子气所产生的向外的压力梯度和引力相等。单位体积内的电子所受到的引力
非相对论性电子气所产生的压力梯度
两力平衡时,得到
这表明白矮星的质量越大则它的半径越小。这和我们所熟悉的正常恒星的质量-半径关系完全不同。如果白矮星的质量增加,引力当然也随之增加,这时恒星的半径减小,密度增加导致简并电子气引力增加,因此还能达到平衡。
对于相对论性电子气来说,白矮星的质量-半径关系消失了。这是因为引力和半径的5
次方成反比,而简并电子气所产生的压力也和半径的5次方成反比。令两力相等,则半径这个因子被消去了。这时,不可能通过调节白矮星的半径来达到平衡。引力和白矮星的质量的平方成正比,而简并电子气压力梯度只和质量的4/3方成正比。所以当白矮星的质量大到一定程度时,引力又变成主宰一切的了。
由此可以得出结论,质量大的恒星坍缩后,不能形成稳定的白矮星。著名的天文学家钱德拉塞卡首先提出这个看法,并计算出白矮星的质量上限为1.44个太阳质量。这是一项天文学上重要的成就,成为他获得诺贝尔物理学奖的原因之一。
白矮星没有热核反应提供能量,其辐射靠内部储藏的热能。因此将逐渐冷却,几十亿年以后就不发光了,从而成为“黑”矮星。但是,如果白矮星是双星系统的成员,它能从伴星那里获得质量,将会有可观的引力势能转化为热能,白矮星便会很亮。当白矮星从伴星获得足够的质量,积累 的氢时,它的温度和密度便会达到足以发生氢的聚变反应,致使白矮星的外层爆发,产生新星。普遍认为大多数行星状星云是白矮星的前身,质量大于钱德拉塞卡质量极限的中央星,外壳爆炸形成行星状星云,中央星的质量下降到钱德拉塞卡质量极限之下而成为稳定的白矮星。
质量大于钱德拉塞卡质量上限的恒星坍缩后的结局又如何?好戏在后头,那就是中子星和黑洞。
三,中子星的形成
在1932年以前我们只知道原子中有一个核,原子的极大部分质量都集中在这个核里。原子核很小,只有原子直径的 之一。但不知道原子核中有中子。直到1932年发现中子和测出中子的质量与质子的质量差不多以后,人们才知道,原子核是由质子和中子组成的。
顾名思义,中子星就是完全由中子组成的恒星。普通恒星的炽热气体是由多种元素的原子组成的。白矮星中的原子处于完全电离的状态,赤裸裸的原子核一个挨着一个,但是所有中子仍禁锢在原子核中。原子核由质子和中子组成,质子和中子基本上是一半对一半。要形成中子星首先要解决的问题是:质子能否变为中子?中子能否跑出原子核?原子核能否完全破裂?进一步还要回答,是否能够产生一种新的、足以对抗强大引力的力?
白矮星的密度已经达到了 克/厘米 ,很显然,超过钱德拉塞卡质量上限的3恒星坍缩后的密度将超过白矮星的密度,简并电子气压力不能抵抗引力,恒星要继续坍缩,密度越来越高,直至出现一个能与引力相抗衡的力时,坍缩才会停止。这个力是什么?它就是简并中子气压力。
核物理虽然是一门高深的理论,但是它的一些重要的物理概念和实验事实 已经很普
及了,在高中物理课本中就已经介绍过。如原子核,α衰变、β衰变、天然放射现象、同位素以及核能等。这些知识都有助我们理解中子星形成的道理。中子星的形成可分为下面三个过程:
1,中子化过程
第一个重要的过程是逆β衰变。它是β衰变的逆过程。β衰变说的是一个孤立的中子或者在原子核中的一个中子衰变为一个质子和一个电子,并发射一个反中微子的过程。而逆β衰变,则为质子变成中子的过程。当电子的速度接近光速时和一个质子相碰,便形成一个中子和一个中微子。逆β衰变反应式为
原子核的中子也有β衰变和逆β衰变。一个高能电子打入原子核,和其中的质子相碰,就产生逆β衰变反应
X代表原子核的符号,Z为质子数,A为核子数,是质子和中子数的总和。 为电子中微子。核反应后,核子数不变,但少了一个质子,多了一个中子。这个元素变为另一种元素。
在恒星的密度大于 克/厘米 时,达到产生逆β衰变过程的条件,高速电子能打进3原子核,和质子相碰形成中子,发射一个中微子。这时,原子核的能量减少了,少了一个质子,但多了一个中子。核外电子的能量越大,打进原子核的电子也就越多,形成很多富中子核,这就是中子化过程。
2,自由中子发射过程
第二个过程是自由中子发射。说的是中子从原子核中跑出来的过程。逆β衰变过程使原子核中的中子数越来越多,质子数越来越少,导致原子核内静电斥力减小,使得原子核的结合力减弱。当中子的能量大到一定程度时,就有可能跑出原子核。
当一个电子打入原子核时,产生逆 过程,导致原子核中少了一个质子,多了一个中子,质量数不变,但质子数变了,即从 变为 。这两种原子核的结合能是不同的,彼此相差 。理想中子气就是假定中子之间没有相互作用的情况,当理想中子气的能量 大于或等于两个同质异位的原子核的结合能之差) 时,即
中子就可能从原子核中滴出。很明显,结合能之差 小的,中子比较容易从原子核中滴出。 成为中子化的阈能值。不同元素的阈能值是不同的。如
锰 的 而铁 的 。镁的中子化的阈能值比铁的
要小得多,故镁比铁容易产生中子化过程。
α粒子是由两个质子和两个中子组成的氦的原子核。我们熟知的α衰变,是说一个原子核释放出氦核而变为另一种元素的过程。这里谈到的自由中子发射过程是放出中子。典型的自由中子发射是镁变为钠的核反应,当一个电子打入镁的原子核后,电子和一个质子碰撞变为中子,原子核中少了一个质子,就变为钠元素,同时从原子核中释放出3个中子和一个电子中微子,反应式为
自由中子放射过程条件是密度很大,达到或超过 克/厘米3 ,这时的中子气的能量可以超过中子化的阈能值。坍缩过程使密度增大,很容易满足这个条件。在中子化的过程中,原子核和核外的中子流体及电子气同时存在。
3,原子核破裂形成中子流体
第三个过程是,当密度超过 克/厘米 以后,原子核便完全离解,其中的质子3和电子相碰变为中子,成为中子的海洋。但是中子星内还存在着很少量的质子,因为纯粹的中子流体是不稳定的,β衰变过程会使某些中子衰变为质子。只有当少量的质子占据了一定数量的质子能态后,由于泡利原理不允许再有质子进入已被占据的能态,使中子的β衰变过程不能进行。既然中子星内有少量质子, 当然也存在同样量的电子以保持整体电中性。
地球上大多数元素的原子核中的质子和中子数几乎相等. 但对核子数很大的原子核,中子多于质子。 质子数大于92的原子核(超铀元素)都是不稳定的。 质子数越大, 原子核越不稳定。中子星就像一个巨型的稳定原子核,但中子数比质子数要大得多。更确切些说,中子星就像是一个巨型原子, 只是电子不是分布在原子核外。这正好是早期汤姆逊提出的原子模型。
中子星的形成包含了逆β衰变过程、自由中子发射过程和原子核的完全离解过程。这些过程所需要的密度条件,在引力坍缩过程中都能得到满足。
在中子星壳层以下的中子流体是简并的,由于密度奇高,致使大部分中子处于很高的能态,形成了极其巨大的简并中子气压。简并中子气压和密度的5/3次方成正比,和非相对论性的简并电子气压和密度的关系一样。中子流体的密度已超过 克/厘米3 ,致使简并中子气所形成的压力远远超过简并电子气,成为可以抗衡引起星体坍缩的引力。这样,稳定的中子星便形成了。
白矮星的质量有一个上限,中子星的质量也有一个上限。坍缩后所形成的致密星的质量大于2个太阳质量时,中子气简并压力也无法抗衡引力,星体便只能一直收缩下去,形成黑洞。
四,中子星的质量和结构:
1,中子星的质量的粗略估计
假定中子星的半径为R,全部由中子组成,共有A个中子。所以每个中子所占据的空间
所以中子间的平均距离
中子的动量和中子间的平均距离应满足“测不准关系”,即
中子星稳定的条件是中子的动能和引力能相等,中子的最大的动能为其动量乘以光速,表达式为
中子的引力能由一个中子受体积内所有的中子的作用决定,
当中子的动能和引力能相等时,可以求出中子星所包含总的中子数A
稳定的中子星要有 个中子。中子的质量为 克,故中子星的质量为
克,恰好接近一个太阳的质量。太阳质量为 克。
2,中子星的质量M和半径之间的关系
和白矮星类似,中子星的质量M和半径之间的关系和正常恒星完全不同,也是反关联关系,
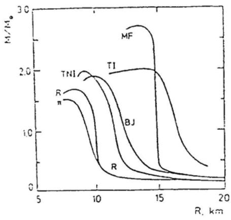
尽管不同模型的关系曲线不同,但总的规律是一样的。质量大的中子星,半径小,密度大。质量小的中子星,半径大,密度小。对于一个质量为一个太阳质量的中子星,其半径约为10公里。
3,中子星的结构
典型的中子星模型如图(3.3)所示,它的壳层大约厚1公里,密度从外向里逐步增加。外壳的密度为 克/厘米3 ,恰好是符合逆β衰变过程的条件,由富中子核和核外的电子气组成。由原子核构成的固体外壳具有很高的刚性。


图(3.2) 不同模型得到的中子星质量-半径(左)和质量-密度(右)关系图

图(3.3)
中子星结构
示意图
内壳的密度为 克/厘米3 ,满足自由中子发射过程的条件,因此内壳是由裸原子核和中子及电子组成。
在内壳以下,密度大于 克/厘米3 ,则是简并中子流体和少量的质子电子。中子处于超流状态,质子则是超导的。
中子星的核心部分,密度达到了 克/厘米3 ,中子流体的物态方程还不能确定,有迹象表明,中子星的核心部分是极其高密的固体物质。
目前已经发现700多颗发出脉冲形式辐射的中子星,还有近2000颗被推测为停止了无线电脉冲辐射,但却偶尔发出γ射线爆的中子星。中子星是恒星演化晚期的产物,核能已经消耗殆尽,但仍然在进行着十分丰富的物理过程,有着多波段的辐射和极端物理条件,在高能天体物理舞台上成为主要的角色。